轮滑鞋垂直冲击试验机

【概要描述】满足标准:GB/T 20096 EN14619

型号:HY-989B 点击量: 更新日期:2024-1-9 服务热线:400-8300-665
  • 产品概述
  • 技术参数
  • 附件

满足标准

1.适用标准:满足GB/T 20096-2006《轮滑鞋》中5.15条款要求
2.主要用途:轮滑鞋垂直冲击试验。

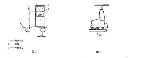
1.落锤质量和冲击高度见下表(冲击速度)

 

双排A类

双排B类

 

单排A类

单排B类

落锤重量

kg

15

10

冲击能量

J

50

30

落锤形状和尺寸

详见GB/T 20096-2006标准中图7

冲击高度

m

250

150

冲击速度

m/s

2.5±0.3

2.0±0.2

提供的冲击形式

详见GB/T 20096-2006标准中图8





1.仪器中文操作说明书一份

2.仪器保修卡一份

3.国际第三方CNAS试验室仪校报告一份

联系方式

总部邮箱:8386@www.kaiyuan.com 总部地址:广东省东莞市道滘镇厚德上梁洲工业区
咨询热线

400-8300-665

(周一至周日9:00-19:00) 联系我们
ky开元中文站
ky开元国际站
©2001- ky开元仪器 All Rights Reserved.  粤ICP备09114076号-5 24小时免费服务热线:400-8300-665 返回首页 | 网站地图 | 联系我们